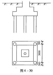
有一五桩正方形承台,如图4-30所示。作用于桩基承台顶面的竖向力设计值为8000kN,平行于x轴及y轴的力矩分别为600kN·m1和100KN·m,承台埋...

作者: rantiku 人气: - 评论: 0
问题 有一五桩正方形承台,如图4-30所示。作用于桩基承台顶面的竖向力设计值为8000kN,平行于x轴及y轴的力矩分别为600kN·m1和100KN·m,承台埋深为2. 5m,根据《建筑桩基技术规范》(JGJ 94一2008)计算桩顶竖向力的最大值为( )kN。 A. 1710 B. 1810 C. 1876 D. 2010
选项
答案 C
解析

猜你喜欢

发表评论
更多 网友评论0 条评论)
暂无评论

访问排行

Copyright © 2012-2014 恰考网 Inc. 保留所有权利。 Powered by tikuer.com

页面耗时0.0417秒, 内存占用1.03 MB, Cache:redis,访问数据库20次