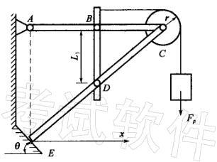
图示构架由AC、BD、CE三杆组成,A、B、C、D 处为铰接,E处光滑接触。已知:Fp= 2kN,θ=45°,杆及轮重均不计,则E处约束力的方向与x轴正向...

作者: rantiku 人气: - 评论: 0
问题 图示构架由AC、BD、CE三杆组成,A、B、C、D 处为铰接,E处光滑接触。已知:Fp= 2kN,θ=45°,杆及轮重均不计,则E处约束力的方向与x轴正向所成的夹角为:
选项 A. 0° B. 45° C. 90° D. 225°
答案 B
解析 解:E处为光滑接触面约束,根据约束的性质,约束力应垂直于支撑面,指向被约束物体。

猜你喜欢

发表评论
更多 网友评论0 条评论)
暂无评论

Copyright © 2012-2014 恰考网 Inc. 保留所有权利。 Powered by tikuer.com

页面耗时0.0301秒, 内存占用1.03 MB, Cache:redis,访问数据库19次