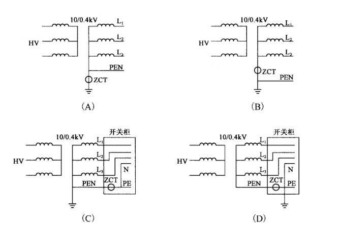
对Y,yn0接线组的10/0.4kV变压器,常利用在低压侧装设零序电流互感器(ZCT)的方法实现低压侧单相接地保护,如为此目的,如下图所示ZCT安装位置正...

作者: tihaiku 人气: - 评论: 0
问题 对Y,yn0接线组的10/0.4kV变压器,常利用在低压侧装设零序电流互感器(ZCT)的方法实现低压侧单相接地保护,如为此目的,如下图所示ZCT安装位置正确的是哪些?()
选项
答案 BD
解析

相关内容:线组,变压器,常利,低压,零序,电流互感器,方法,接地,保护,目的,下图,位置

猜你喜欢

发表评论
更多 网友评论0 条评论)
暂无评论

Copyright © 2012-2014 恰考网 Inc. 保留所有权利。 Powered by tikuer.com

页面耗时0.0500秒, 内存占用1.05 MB, Cache:redis,访问数据库19次