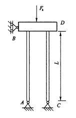
两根完全相同的细长(大柔度)压杆AB和CD如图所示,杆的下端为固定铰链约束,上端与刚性水平杆固结。两杆的弯曲刚度均为EI,其临界载荷Fa为:

作者: rantiku 人气: - 评论: 0
问题 两根完全相同的细长(大柔度)压杆
选项 AB和CD如图所示,杆的下端为固定铰链约束,上端与刚性水平杆固结。两杆的弯曲刚度均为EI,其临界载荷Fa为:
答案 B
解析

猜你喜欢

发表评论
更多 网友评论0 条评论)
暂无评论

Copyright © 2012-2014 恰考网 Inc. 保留所有权利。 Powered by tikuer.com

页面耗时0.0399秒, 内存占用1.03 MB, Cache:redis,访问数据库20次