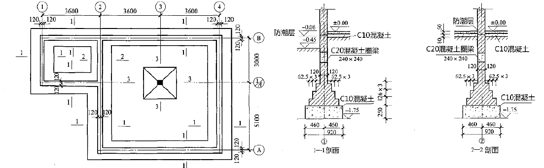
某砖基础平面图,如图所示。砖基础采用烧结标准砖,DM7.5-HR 砂浆砌筑。防潮层采用抹灰砂浆DP-MR 加防水剂。采用信息价确定其综合单价。 ...

作者: tihaiku 人气: - 评论: 0
问题 某砖基础平面图,如图所示。砖基础采用烧结标准砖,DM7.5-HR 砂浆砌筑。防潮层采用抹灰砂浆DP-MR 加防水剂。采用信息价确定其综合单价。 清单工程量=[(3.6*3+3.0+5.1)*2+(3.0-0.24)]*(1.5*0.24+0.0954-0.24*0.24)=16.10m3
选项
答案
解析 首先分析清单项目综合的定额子目:   清单项目“砖基础”综合的定额子目有:   ①4-1 砖砌体 基础   ②9-173 墙面防水、防潮 防水砂浆   其次,计算定额子目的工程量:   ①4-1 砖砌体 基础:16.10m3   ②9-173 墙面防水、防潮 防水砂浆:9.73㎡   第三,查定额子目的预算价格(信息价) 第四,计算定额子目的合价   ①4-1 砖砌体 基础:   管理费:573.32*8.88%=50.91 元/m3   利润:(573.32+50.91)*7%=43.70 元/m3   定额子目合价: (573.32+50.91+43.70)*16.10=10753.6 元/m3   ②9-173 墙面防水、防潮 防水砂浆:   管理费:27.06*8.88%=2.40 元/㎡   利润:(27.06+2.40)*7%=2.06 元/㎡   定额子目合价:   (27.06+2.40+2.06)*9.73=306.69 元/㎡   第五,计算砖基础综合单价   (10753.67+306.69)/16.10=686.98 元/m3 以上方法一般称之为总量法计算综合单价;除此之外还有含量法计算综合单价。就是先求每清单项目工程量含的定额项目工程量的数量。如本例题,清单项目砖基础的工程量为16.10m3。定额子目砖基础工程量16.10m3,砂浆防潮层工程量9.73㎡。   单位含量:   (1)砖基础:16.10/16.10=1m3   (2)砂浆防潮层:9.73/16.10=0.6043㎡

相关内容:某砖,基础,平面图,如图,标准,DM7.5-HR,砂浆,防潮,防水剂,信息,综合,单价

猜你喜欢

发表评论
更多 网友评论0 条评论)
暂无评论

Copyright © 2012-2014 恰考网 Inc. 保留所有权利。 Powered by tikuer.com

页面耗时0.0471秒, 内存占用1.05 MB, Cache:redis,访问数据库19次