某学校小便池长3m,安装如图所示的小便槽冲洗管。给水采用镀锌钢管螺纹连接,排水采用PVC-U塑料管粘接,PVC地漏。计算小便槽冲洗管和排水管道的清单工程量...

作者: tihaiku 人气: - 评论: 0
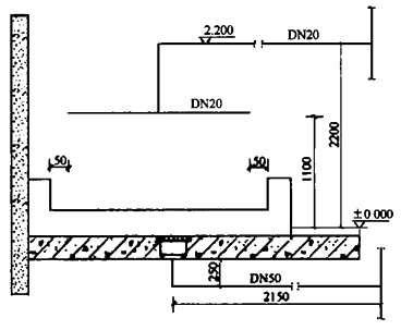
问题 某学校小便池长3m,安装如图所示的小便槽冲洗管。给水采用镀锌钢管螺纹连接,排水采用PVC-U塑料管粘接,PVC地漏。计算小便槽冲洗管和排水管道的清单工程量。 小便槽冲洗管
选项
答案
解析 DN20小便槽冲洗管制作安装应执行清单编号031004015。三通中心或弯头中心就是卫生器具与给水管的分界处。该图所示的分界是弯头。DN50排水塑料安装执行清单编号031001006。   小便槽冲洗DN20镀锌钢管水平长度为3-0.05×2=2.9(m)   031004015清单DN20镀锌钢管工程量为2.9m。   DN50排水塑料管长度为2.15+0.25=2.4m。   031001006清单DN50排水塑料管工程量为2.15+0.25=2.4m

相关内容:学校,便池,如图,小便,给水,镀锌,钢管,螺纹,排水,塑料管,地漏,管道,清单,工程量

猜你喜欢

发表评论
更多 网友评论0 条评论)
暂无评论

Copyright © 2012-2014 恰考网 Inc. 保留所有权利。 Powered by tikuer.com

页面耗时0.0477秒, 内存占用1.04 MB, Cache:redis,访问数据库17次