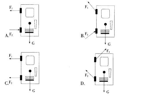
下面是一扇防盗门的四种受力图,F1、F2为作用在上下两个铰链上的力,G为重力。防盗门的实际受力情况最接近_。

作者: rantiku 人气: - 评论: 0
问题 下面是一扇防盗门的四种受力图,F1、F2为作用在上下两个铰链上的力,G为重力。防盗门的实际受力情况最接近_。
选项
答案 B
解析 根据受力平衡和力矩平衡可确定答案为B。

猜你喜欢

发表评论
更多 网友评论0 条评论)
暂无评论
错误啦!

错误信息

  • 消息: [程序异常] : MISCONF Redis is configured to save RDB snapshots, but it's currently unable to persist to disk. Commands that may modify the data set are disabled, because this instance is configured to report errors during writes if RDB snapshotting fails (stop-writes-on-bgsave-error option). Please check the Redis logs for details about the RDB error.
  • 文件: /twcms/kongphp/cache/cache_redis.class.php
  • 位置: 第 85 行
    <?php echo 'KongPHP, Road to Jane.'; ?>