小李的奶奶瘫痪在床,行动不便,小李让保姆住在他奶奶房间的隔壁房间,并且在两个房间各装了一个电铃,使任何一方按下电铃都能让对方的电铃发声。要实现这种功能,电...

作者: rantiku 人气: - 评论: 0
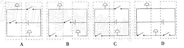
问题 小李的奶奶瘫痪在床,行动不便,小李让保姆住在他奶奶房间的隔壁房间,并且在两个房间各装了一个电铃,使任何一方按下电铃都能让对方的电铃发声。要实现这种功能,电铃应按如下()种电路图所示安装。
选项
答案 C
解析 为保证按本房间开关对方铃响本房间铃不响则必须让两个电铃并联,并且每个回路有独立的开关。故答案选C。

猜你喜欢

发表评论
更多 网友评论0 条评论)
暂无评论

访问排行

Copyright © 2012-2014 恰考网 Inc. 保留所有权利。 Powered by tikuer.com

页面耗时0.0442秒, 内存占用1.03 MB, Cache:redis,访问数据库18次