某土石坝分部工程的网络计划如图1F420140-1 所示,计算工期为44 天。根据技术方案,确定A、D、I 三项工作使用一台机械顺序施工。 ...

作者: tihaiku 人气: - 评论: 0
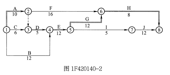
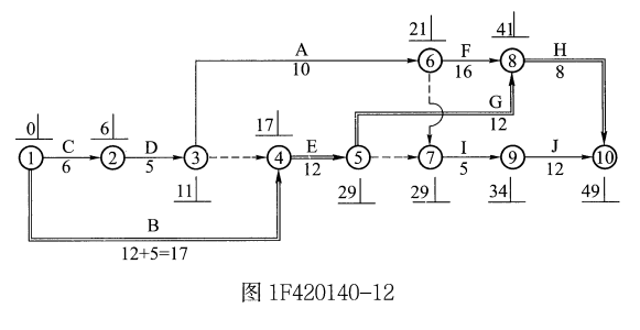
问题 某土石坝分部工程的网络计划如图1F420140-1 所示,计算工期为44 天。根据技术方案,确定A、D、I 三项工作使用一台机械顺序施工。 问题: (1)按A → D → I 顺序组织施工,则网络计划变为如图1F420140-2 所示。 ① 计算工期是多少天? ② 机械在现场的使用和闲置时间各是多少天? (2)如按D → A → I 顺序组织施工,则网络计划变为如图1F420140-3 所示。 ① 计算工期是多少天? ② 机械在现场的使用和闲置时间各是多少天? (3)比较以上两个方案,判断哪个方案更好? (4)若监理批准D → A → I 顺序施工,施工中由于项目法人原因,B 项工作时间延长5 天,承包商提出要求延长5 天工期。网络计划如图1F420140-4 所示。 ① 工期延长几天合理?为什么? ② 机械闲置的时间为多少天?
选项
答案
解析 (1)工期及机械在现场使用时间的计算方法: ① 工期应以各项工作的最早时间进行计算,可以根据公式计算法或图上计算法计算出各项工作的最早完成时间,终点节点的紧前工作最早完成时间最大值即为计算工期;也可以根据节点计算法计算出终点节点最早时间,得出计算工期。本例计算工期为47 天。 ② 机械在现场的使用时间应将各项工作使用机械的时间累计计算。闲置时间应考虑各项工作使用机械的时间差,也即是前项工作最早完成时间与该工作最早开始时间的差值为该两项工作机械闲置时间,将各闲置时间累计计算,就可计算出机械在该工程中的闲置时间。本例机械在现场的使用时间是20 天,闲置时间是12 天。 (2)分析思路同(1)。 按D → A → I 顺序组织施工的网络图如图1F420140-11 所示。 ① 计算工期为45 天。 ② 机械在现场的使用时间是20 天,闲置时间是3 天。 (3)将两个方案的计算工期和机械闲置时间分别进行比较,工期短、机械闲置时间少的方案为最优方案。本例按A—D—I 的顺序施工,工期较长(47 天),机械闲置时间较多(12 天);按D—A—I 顺序施工,工期较短(45 天),机械闲置时间较少(3 天),所以按D—A—I 顺序施工的方案较优。 (4)工期延误及机械闲置时间的分析计算方法: ① 一项工作被延误,是否对工程工期造成影响,应首先考虑该项工作是否在关键线路上。如果在关键线路上,则工期延误的时间就等于该项工作的延误时间;如果该项工作不在关键线路上,应计算出该项工作的总时差,用总时差与延误时间进行比较,计算出对工期的影响。同时应比较工期延误后按D—A—I 顺序施工的工期和A—D—I 顺序施工的工期。 本例中,B 项工作时间延长5 天后,关键路线变为如图1F420140-12 所示。 总工期为49 天,工期延长ΔT = 49-45 = 4 天,所以工期延长4 天合理。 ② 机械的闲置时间分析方法同上。 工作A 的最早完成时间为第21 天,工作I 的最早开始时间为第29 天,ΔT = 29-21 =8天。扣除原计划机械中已有的闲置时间3天,那么承包商可索赔的机械闲置时间为:ΔTp =8-3 = 5 天。

相关内容:土石,分部,工程,网络,计划,如图,1F420140-1,工期,根据,技术,方案,工作,机械,顺序,施工

猜你喜欢

发表评论
更多 网友评论0 条评论)
暂无评论

访问排行

Copyright © 2012-2014 恰考网 Inc. 保留所有权利。 Powered by tikuer.com

页面耗时0.0355秒, 内存占用1.04 MB, Cache:redis,访问数据库15次