背景资料 某施工单位中标承建过街地下通道工程,周边地下管线较复杂,设计采用明挖顺作法施工。通道基坑总长80m,宽12m,开挖深度10m;基坑围护结构采用...

作者: tihaiku 人气: - 评论: 0
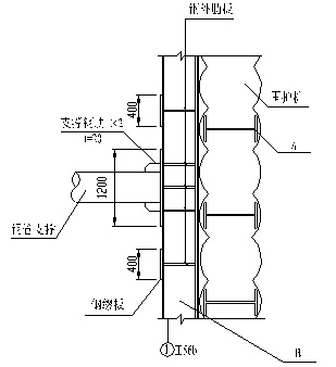
问题 背景资料 某施工单位中标承建过街地下通道工程,周边地下管线较复杂,设计采用明挖顺作法施工。通道基坑总长80m,宽12m,开挖深度10m;基坑围护结构采用SMW工法桩,基坑沿深度方向设有2道支撑,其中第一道支撑为钢筋混凝土支撑,第二道支撑为Φ609×16mm钢管支撑(见图5)。基坑场地地层自上而下依次为:2.0m厚素填土、6m厚黏质粉土、10m厚砂质粉土,地下水位埋深约1.5m。在基坑内布置了5口管井降水。 项目部选用坑内小挖机与坑外长臂挖机相结合的土方开挖方案。在挖土过程中发现围护结构有两处出现渗漏现象,渗漏水为清水,项目部立即采取堵漏措施予以处理,堵漏处理造成直接经济损失20万元,工期拖延10天,项目部为此向业主提出索赔。 【问题】1.给出图1中A、B构(部)件的名称,并分别简述其功用。 【问题】2.根据两类支撑的特点分析围护结构设置不同类型支撑的理由。 【问题】3.本项目基坑内管井属于什么类型 起什么作用 【问题】4.给出项目部堵漏措施的具体步骤。 【问题】5.项目部提出的索赔是否成立 说明理由。 【问题】6.列出基坑围护结构施工的大型工程机械设备。
选项
答案
解析 1.A:H型钢;B:围檩(或腰梁、圈梁);A功用:在围护结构(或水泥搅拌桩)中起骨架作用(或提高围护结构刚度、挡土);B功用:整体受力(或提高支撑刚度、均匀受力)。 2.第一道设置钢筋混凝土支撑的原因(优点): 1)增加支撑刚度(或减少围护结构变形); 2)能承受拉应力,整体性强; 3)施工方便。 第二道钢管支撑的理由(优点): 1)安装、拆除速度快; 2)可周转使用(或经济性好); 3)支撑可施加预应力,控制墙体变形。 3.疏干井 作用:降低地下水位,便于土方开挖;提高被动土压力。 4.具体步骤:在缺陷处插入引流管引流,然后采用双快水泥封堵缺陷处,等封堵水泥形成一定强度后再关闭导流管。 5.不成立。因为坑外地下水位较高是施工单位投标前客观存在的;造成围护结构渗漏水的主要原因是SMW工法桩施工质量问题;属于承包方自己的责任,故索赔不成立。 6.三轴搅拌桩机、吊车。

相关内容:背景,资料,地下,通道,工程,周边,管线,设计,明挖,作法,施工,基坑,总长,开挖,深度,结构

猜你喜欢

发表评论
更多 网友评论0 条评论)
暂无评论

Copyright © 2012-2014 恰考网 Inc. 保留所有权利。 Powered by tikuer.com

页面耗时0.0338秒, 内存占用1.04 MB, Cache:redis,访问数据库17次