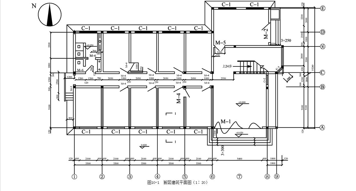
共用题干 以下为某一建筑工图,如图10-1所示问题:此图中室内外高差是()m。 A:0.3 C:0.8 D:1.2 E:0.6

作者: tihaiku 人气: - 评论: 0
问题 共用题干 以下为某一建筑工图,如图10-1所示

问题:
选项 此图中室内外高差是()m。 A:0.3 C:0.8 D:1.2 E:0.6
答案 B
解析 隔墙是根据不同的使用要求把房屋分隔成不同的使用空间。隔墙不承重,因此,隔墙应满足自重轻、厚度薄、隔声、防火、防潮、便于拆装等要求,以满足不同需要,不断改变物业的功能和房屋的平面布局。常用的隔墙有块材隔墙、轻骨架隔墙、轻型板材隔墙、装配整体式板材隔墙等。
由图中可看出,此卫生间窗的朝向为C-1朝北。
该首层建筑平面目的图示表示方法是楼层平面图。建筑平面图一般分为楼层平面目和屋顶平面图。楼层平面目是用一个假想水平剖切面,在房屋的窗台上方剖开整幢房屋,移去剖切面上方的部分,将留下部分向水平投影面作正投影所得的水平剖视图,习惯上称为平面图。屋顶平面图是一幢房屋的水平投影。建筑平面图是墙体砌筑、门窗安装和室内装饰的重要依据。
由图可看出,卫生间的开间为3.3m,进深为5.1m(3.3m+1.8m)
由图可看出,此图中室内高差是0.6m。

相关内容:题干,建筑工,如图,问题,图中,室内外,高差

猜你喜欢

发表评论
更多 网友评论0 条评论)
暂无评论

Copyright © 2012-2014 恰考网 Inc. 保留所有权利。 Powered by tikuer.com

页面耗时0.0318秒, 内存占用1.05 MB, Cache:redis,访问数据库19次