背景新建机场飞行区指标为4E,跑道磁方向角为6~186。设计要求跑道道面须刻槽。为尽可能消除基层纵向施工缝,基层摊铺必须采用摊铺机作业,并不设找平层,...

作者: rantiku 人气: - 评论: 0
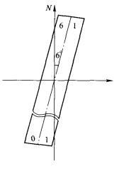
问题 背景 新建机场飞行区指标为4E,跑道磁方向角为6~186。设计要求跑道道面须刻槽。为尽可能消除基层纵向施工缝,基层摊铺必须采用摊铺机作业,并不设找平层,需施工单位采取相应措施来防止道面面层发生反射裂缝。A施工单位中标承建了该跑道基层、面层和道面标志施工项目。为确保工期目标的实现,施工单位加大了施工准备工作力度,在当年4月30日,人员、材料、机械设备均准备就绪,有关室内试验均已完成。施工单位决定于5月1日正式展开基层施工。对此,监理单位予以制止。 问题 (1)以垂直向上作为磁北方向,画出跑道方位示意图。在示意图上标出该跑道的跑道号码。写出跑道标志的名称和颜色。 (2)施工单位在正式展开基层施工前,应履行哪些报批程序并完成哪些施工项目内容? (3)在基层摊铺作业时,为消除纵向施工缝,确定每工作日完成道槽全幅摊铺长度应考虑哪些因素? (4)为防止面层发生反射裂缝,在道面面层施工时,需在哪些部位采取什么措施? (5)说明跑道面层刻槽的主要目的。
选项
答案
解析 (1)跑道标志有:边线标志、中线标志、接地带标志、入口标志、中心圆标志、瞄准点标志、跑道号码标志。颜色均为白色。 (2)需履行工程开工报告报批手续,并在正式展开施工前,先进行试验段施工,将试验段施工方案报监理单位审批, 经批准后,方可进行试验段施工。在试验段施工结束后,需向监理单位提交试验段总结报告,待批准后,方可正式展开施工。 (3)机械设备的生产与施工能力;摊铺时,纵向接缝处的碾压结束时间不得超过所采用水泥的初凝时间。 (4)需在基层施工缝、基层收缩裂缝和预埋处地下构造物上方部位,铺设如土工布、油毡等隔离材料,以防止反射裂缝发生。 (5)当下雨时,可快速排除跑道表面水,避免道面表面形成水膜,从而减小跑道摩擦系数降低的程度。 解析 (1)《民用机场飞行区技术标准》的目视助航设施部分中信号设施与标志一节有详细规定,即跑道标志有:边线标志、中线标志、接地带标志、人口标志、中心圆标志、瞄准点标志、跑道号码标志。颜色均为白色。 跑道号码的写法如图所示。跑道号码与跑道磁方向夹角的关系有明确规定。跑道南端进近方向磁方向夹角为6%,十分之一为0.6,四舍五入取整数为1,跑道号码标志一位数前面需加0,写为01。北端进近方向磁方向夹角为186,十分之一为18.6,四舍五入取整数为19,写为19。 (2)依据项目建设的法律法规。场道工程在开工前,一是需履行工程开工报告报批手续;二是需进行试验段施工。只有在完成上述工作后,方可正式展开施工。 (3)此举是为了避免施工纵缝的产生。 (4)上述方法为有效、常用的防止反射裂缝发生的方法。 (5)跑道刻槽是目前道面快速排水最常用的方法。

猜你喜欢

发表评论
更多 网友评论0 条评论)
暂无评论

访问排行

Copyright © 2012-2014 恰考网 Inc. 保留所有权利。 Powered by tikuer.com

页面耗时0.0394秒, 内存占用1.04 MB, Cache:redis,访问数据库18次