背景资料某光缆线路工程采用直埋敷设方式。开工前,施工单位办理了施工许可证,根据现场考察情况,确定了办公地点等临时设施。为了保证工程的顺利实施,制定了质...

作者: rantiku 人气: - 评论: 0
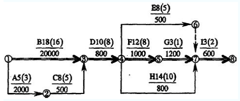
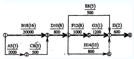
问题 背景资料 某光缆线路工程采用直埋敷设方式。开工前,施工单位办理了施工许可证,根据现场考察情况,确定了办公地点等临时设施。为了保证工程的顺利实施,制定了质量、安全等制度,编制了施工组织设计。工序安排见下图,图中字母是工作代号,字母后的数字为该工作的正常工作天数,括号内的数字为该工作的最短工作天数,横线下方的数字为本工作压缩1 天所增加的费用,单位为元。该工程合同工期等于计算工期。 1.施工单位的现场准备工作还应包括哪些内容? 2.在工程开工至交付阶段,施工单位应如何做才符合质量行为规范的要求? 3.编制本工程双代号网络计划图(只设1 个开始节点),用双箭线标出关键路径,并计算工期。(参考《项目管理》) 4.当工程措行列第23 天时。
选项 A、B、C 工作已完成。其它工作尚未开始,此时实际进度比计划延误多少天?为使总工期满足合同要求,增加的总费用最少,需要对以后的部分工作的时间进行压缩,写出压缩步骤并计算增加费用,画出最终压缩后的网络图,并用双箭线标出关键路径。 5.检查时发现部分标石符号使用有误。第23 至26 块标石的符号如下图,指出错误所在,并写出标石符号所表示的正确内容。
答案
解析 1.P209(本小题4 分) (1)建立分屯点; (2)材料进场检验; (3)光缆配盘; (4)地质条件考察及路由复测(各1 分)。 2.(本小题6 分) (1)进行材料进场检验; (2)按合同标准及规范要求施工; (3)自觉接受质量监督; (4)提供完整准确的竣工资料(答对l 项2 分)。 3.(本小题8 分) (图3 分,关键路径3 分,共6 分) 该工程工期为46 天(2 分)。 4.(本小题8 分)23-18=5(天) 此时实际进度比计划延迟5 天。( 1 分) 第一步:压缩I 工作1 天,增加费用600 元(1 分) 第二步:压缩D 工作2 天,增加费用2*800=1600 元(1 分) 第三步:压缩F 工作1 天,增加费用l000 元(1 分) 第四步:同时压缩F 工作和H 工作l 天,增加费用l000+800=1800( 元)( 1 分) 共增加费用:600+1600+1000+1800=5000(元)( 1 分)最终压缩后的网络图如下:(2 分) 或 5.P148(本小题4 分) 第23 块错(1 分),表示普通接头标石(1 分)。 第24 块错(1 分),表示监测标石(1 分)。

猜你喜欢

发表评论
更多 网友评论0 条评论)
暂无评论

访问排行

Copyright © 2012-2014 恰考网 Inc. 保留所有权利。 Powered by tikuer.com

页面耗时0.0675秒, 内存占用1.03 MB, Cache:redis,访问数据库13次