中国公民王先生2016年2月取得来自中国境内的收入情况如下:(1)取得工资收入8000元。(2)出版畅销书一部,出版社支付稿酬90000元。(...

作者: rantiku 人气: - 评论: 0
问题 中国公民王先生2016年2月取得来自中国境内的收入情况如下: (1)取得工资收入8000元。 (2)出版畅销书一部,出版社支付稿酬90000元。 (3)一次性取得讲学收入20000元。 (4)参加某大型商场开业抽奖活动中奖所得10000元 王先生取得的工资收入应缴纳个人所得税为(????)元。
选项 A.550 B.625 C.345 D.1225
答案 C
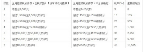
解析 本题考查工资、薪金所得缴纳的个人所得税。(8000-3500)*20%-555=345元

猜你喜欢

发表评论
更多 网友评论0 条评论)
暂无评论

访问排行

Copyright © 2012-2014 恰考网 Inc. 保留所有权利。 Powered by tikuer.com

页面耗时0.0329秒, 内存占用1.03 MB, Cache:redis,访问数据库18次