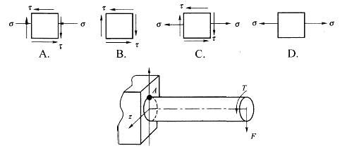
图示圆轴固定端最上缘A点的单元体的应力状态是:

作者: rantiku 人气: - 评论: 0
问题 图示圆轴固定端最上缘
选项 A点的单元体的应力状态是:
答案 C
解析 提示 力F产生的弯矩引起A点的拉应力,力偶T产生的扭矩引起A点的切应力τ,故A点应为既有拉应力σ又有τ的复杂应力状态。

猜你喜欢

发表评论
更多 网友评论0 条评论)
暂无评论

Copyright © 2012-2014 恰考网 Inc. 保留所有权利。 Powered by tikuer.com

页面耗时0.0408秒, 内存占用1.03 MB, Cache:redis,访问数据库19次