如图 4 所示, 空间存在具有水平边界 EF, 方向水平向里的匀强磁场: 在距离 EF 下方 H 处有一正方形线框 MNPO, 线框平面的法线方向与磁场方...

作者: tihaiku 人气: - 评论: 0
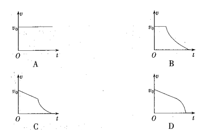
问题 如图 4 所示, 空间存在具有水平边界 EF, 方向水平向里的匀强磁场: 在距离 EF 下方 H 处有一正方形线框 MNPO, 线框平面的法线方向与磁场方向平行。 将线框以初速度 v0 竖直向上抛出。若运动过程中 MN 始终与 EF 平行, MN 在磁场中达到最高点时, OP 未进入磁场。 则线框从开始运动至最高点的过程中, v-t 图像是( )
选项
答案 C
解析 竖直向上抛出的线框进入磁场前,做竖直上抛运动,其速度减小,v-t图像应为倾斜的直线,排除A、B。线框进入磁场时,MN切割磁感线,产生感应电动势,MN内产生指向M的电流。设线框的电阻为R,边长为l,根据左手定则可知线框受到竖直向下的安培力,大

相关内容:如图,空间,水平,边界,方向,匀强,磁场,距离,正方形,线框,法线

猜你喜欢

发表评论
更多 网友评论0 条评论)
暂无评论

访问排行

Copyright © 2012-2014 恰考网 Inc. 保留所有权利。 Powered by tikuer.com

页面耗时0.0314秒, 内存占用1.05 MB, Cache:redis,访问数据库19次