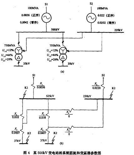
某500kV变电站已知系统阻抗和变压器参数如图4所示,站址位于一块荒地上,围墙外面有水塘。 根据系统阻抗和变压器参数,220kV电压母线三相短路电...

作者: rantiku 人气: - 评论: 0
问题 某500kV变电站已知系统阻抗和变压器参数如图4所示,站址位于一块荒地上,围墙外面有水塘。 根据系统阻抗和变压器参数,220kV电压母线三相短路电流值应为()。 A.35.05kA; B.33.05kA; C.30.05kA; D.27.05k
选项 A。
答案 B
解析 解答过程:计算220kV电压母线三相短路电流,22OkV三相短路电流计算(K2点)。

猜你喜欢

发表评论
更多 网友评论0 条评论)
暂无评论

访问排行

Copyright © 2012-2014 恰考网 Inc. 保留所有权利。 Powered by tikuer.com

页面耗时0.0780秒, 内存占用1.03 MB, Cache:redis,访问数据库18次