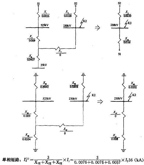
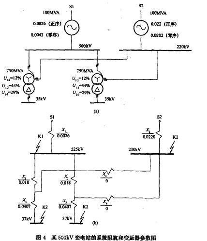
某500kV变电站已知系统阻抗和变压器参数如图4所示,站址位于一块荒地上,围墙外面有水塘。 根据系统阻抗和变压器参数,220kV电压母线单相短路电...

作者: rantiku 人气: - 评论: 0
问题 某500kV变电站已知系统阻抗和变压器参数如图4所示,站址位于一块荒地上,围墙外面有水塘。 根据系统阻抗和变压器参数,220kV电压母线单相短路电流值应为( )。 A.41kA;B.30kA; C.36kA; D.25k
选项 A。
答案 C
解析 解答过程:根据《电力工裎电气设计手册》(1)第4章短路电流计算。220kV中性点直接接地,零序阻抗计算归算到K2点的零序阻抗: 根据以上计算结果,所以答案选择C。

猜你喜欢

发表评论
更多 网友评论0 条评论)
暂无评论
错误啦!

错误信息

  • 消息: [程序异常] : MISCONF Redis is configured to save RDB snapshots, but it's currently unable to persist to disk. Commands that may modify the data set are disabled, because this instance is configured to report errors during writes if RDB snapshotting fails (stop-writes-on-bgsave-error option). Please check the Redis logs for details about the RDB error.
  • 文件: /twcms/kongphp/cache/cache_redis.class.php
  • 位置: 第 85 行
    <?php echo 'KongPHP, Road to Jane.'; ?>