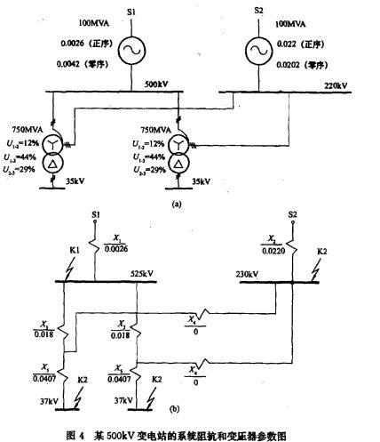
某500kV变电站已知系统阻抗和变压器参数如图4所示,站址位于一块荒地上,围墙外面有水塘。 本工程接地网设计,下面错误的是()。A.采用不等同距网...

作者: rantiku 人气: - 评论: 0
问题 某500kV变电站已知系统阻抗和变压器参数如图4所示,站址位于一块荒地上,围墙外面有水塘。 本工程接地网设计,下面错误的是()。
选项 A.采用不等同距网格接地网; B.水平接地极实施全面换土; C.在地网边缘的四角设置深井接地极; D.在地网内增加打入2.5m短垂直接地极。
答案 D
解析 答案分析:利用短垂直接地极降低接地电阻是不可取的,浪费钢材’效果差,所以答案D是错误的。

猜你喜欢

发表评论
更多 网友评论0 条评论)
暂无评论

访问排行

Copyright © 2012-2014 恰考网 Inc. 保留所有权利。 Powered by tikuer.com

页面耗时0.0971秒, 内存占用1.03 MB, Cache:redis,访问数据库20次