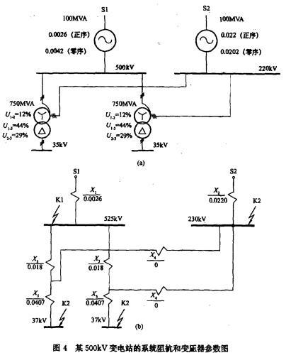
某500kV变电站已知系统阻抗和变压器参数如图4所示,站址位于一块荒地上,围墙外面有水塘。 若变电站接地网的接地电阻实测值为0.5Ω,接地电阻值未...

作者: rantiku 人气: - 评论: 0
问题 某500kV变电站已知系统阻抗和变压器参数如图4所示,站址位于一块荒地上,围墙外面有水塘。 若变电站接地网的接地电阻实测值为0.5Ω,接地电阻值未达到0.11Ω目标要求值,需要采取措施降阻,试分析以下降阻措施可行的是()。
选项 A.因为围墙外有水塘,可采用引外接地网; B.扩大接地网面积到围墙外2m变电站的征地红线范围内 C.在地网中心地带设里深井接地极; D.在地网内増加打入2.5m短垂直接地极。
答案 A
解析 答案分析:根据变电站的条件:扩大接地网面积到围墙外2m变电站的征地红线范围内,接地网已经出了围墙,运行安全性差;在地网中心地带设置深井接地极,投资大,效果不好;在地网内增加打人2.5m短垂直接地极,效果差,所以选择答案A。

猜你喜欢

发表评论
更多 网友评论0 条评论)
暂无评论

访问排行

Copyright © 2012-2014 恰考网 Inc. 保留所有权利。 Powered by tikuer.com

页面耗时0.0481秒, 内存占用1.03 MB, Cache:redis,访问数据库15次