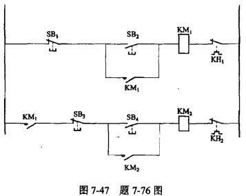
如图7-47所示的控制电路中,交流接触器KM1、KM2分别控制电动机M1和M2,以下叙述正确的是()。A.M1,M2可以独立运行,互不影响B.M1...

作者: rantiku 人气: - 评论: 0
问题 如图7-47所示的控制电路中,交流接触器KM1、KM2分别控制电动机M1和M2,以下叙述正确的是()。
选项 A.M1,M2可以独立运行,互不影响 B.M1起动后,M2才能起动 C.先将M1起动,随后M2自行起动 D.先将M2起动,M1不能自行起动
答案 B
解析 正确答案是B。 提示:注意与SB3串联的KM1常开点的作用和与SB1并联的常开点KM2的作用。

猜你喜欢

发表评论
更多 网友评论0 条评论)
暂无评论

Copyright © 2012-2014 恰考网 Inc. 保留所有权利。 Powered by tikuer.com

页面耗时0.0913秒, 内存占用1.03 MB, Cache:redis,访问数据库19次