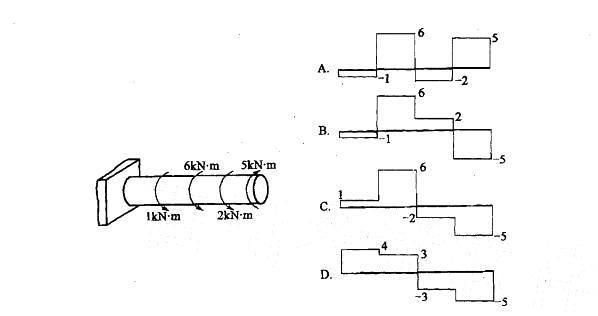
如图所示,圆轴的扭矩图为:

作者: tihaiku 人气: - 评论: 0
问题 如图所示,圆轴的扭矩图为:
选项
答案 D
解析 提示:首先考虑整体平衡,设左端反力偶m在外表面由外向里转,则有MX = 0,即m-1-6-2+5=0,所以m=4kN?m。 再由直接法求出各段扭矩,从左至右各段扭矩分别为4kN?m、3kN?m、-3kN?m、-5kN?m在各集中力偶两侧截面上扭矩的变化量就等于集中偶矩的大小。显然符合这些规 律的扭矩图只有D图。

相关内容:如图,圆轴,扭矩

猜你喜欢

发表评论
更多 网友评论0 条评论)
暂无评论

Copyright © 2012-2014 恰考网 Inc. 保留所有权利。 Powered by tikuer.com

页面耗时0.0268秒, 内存占用1.04 MB, Cache:redis,访问数据库19次