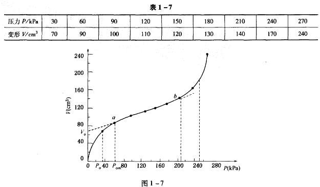
预钻式旁压试验得压力P-V的数据,据此绘制P-V曲线如图1 -7、表1-7所示, 图中ab为直线段,采用旁压试验临塑荷载法确定,该试验土层的fak值与下列...

作者: tihaiku 人气: - 评论: 0
问题 预钻式旁压试验得压力P-V的数据,据此绘制P-V曲线如图1 -7、表1-7所示, 图中ab为直线段,采用旁压试验临塑荷载法确定,该试验土层的fak值与下列哪一选项最接近?( ) A. 120kPa、 120kPa B. 150kPa、 120kPa C. 180kPa、 120kPa D. 210kPa、 180kPa
选项
答案 C
解析 根据《港口工程地质勘察规范》(JTJ 240—1997)第8. 6. 3条,由旁压试验压力和体积变形量关系曲线P—V,确定4个压力特征点Pom、Po、Pf、PL,如图1-8所示。 曲线直线段和曲线第一个切点对应的压力值(初始压力)为Pom,Pom=60kPa; 曲线直线段延长与纵坐标交点Vo,由Vo作P轴的平行线,交于曲线的点对应的压力为Po,Po=30kPa; 曲线直线段的终点对应的压力为临塑压力Pf,Pf =210kPa; 曲线过临塑压力后,趋向于与纵轴平行的渐近线对应的压力为极限压力PL,PL=270kPa。 地基土的承载力特征值为可按下列两种方法确定: ①临塑压力法:fak =Pf-Po=210 -30 = 180kPa; ②极限压力法:

相关内容:预钻,试验,压力,数据,曲线,如图,1-7所示,图中,线段,临塑,荷载,土层

猜你喜欢

发表评论
更多 网友评论0 条评论)
暂无评论

访问排行

Copyright © 2012-2014 恰考网 Inc. 保留所有权利。 Powered by tikuer.com

页面耗时0.0493秒, 内存占用1.04 MB, Cache:redis,访问数据库14次