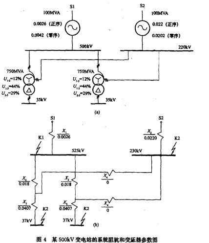
某500kV变电站已知系统阻抗和变压器参数如图4所示,站址位于一块荒地上,围墙外面有水塘。 当5OOkV与220kV母线单相短路时,最大入地电流值...

作者: rantiku 人气: - 评论: 0
问题 某500kV变电站已知系统阻抗和变压器参数如图4所示,站址位于一块荒地上,围墙外面有水塘。 当5OOkV与220kV母线单相短路时,最大入地电流值应为(),(已知K1点最大接地短路电流Imax=39.8kA)。 A.13.2kA, B.23.2kA; C.28.2kA; D.18.2k
选项 A。
答案 D
解析 解答过程: 根据《电力工程电气设计手册Ml)第4章短路电流计算的相关内容,以及《交流电气装置的接地》(DL/T621-1997)的附录B,K1和K2点入地电流计算如下: 1)计算K1点入地电流 已知K1点最大接地短路电流:Imax=39.8(kA) 当所外发生短路时: 入地电流:I=InX(1)=3.2(kA)其中ke2=O.1。 2)计算K2点入地电流

猜你喜欢

发表评论
更多 网友评论0 条评论)
暂无评论
错误啦!

错误信息

  • 消息: [程序异常] : MISCONF Redis is configured to save RDB snapshots, but it's currently unable to persist to disk. Commands that may modify the data set are disabled, because this instance is configured to report errors during writes if RDB snapshotting fails (stop-writes-on-bgsave-error option). Please check the Redis logs for details about the RDB error.
  • 文件: /twcms/kongphp/cache/cache_redis.class.php
  • 位置: 第 85 行
    <?php echo 'KongPHP, Road to Jane.'; ?>