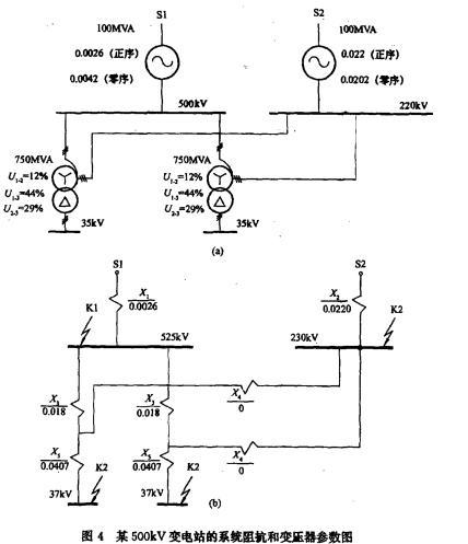
某500kV变电站已知系统阻抗和变压器参数如图4所示,站址位于一块荒地上,围墙外面有水塘。 变电站接地网的接地电阻值应为()。A.0.15Ω;...

作者: rantiku 人气: - 评论: 0
问题 某500kV变电站已知系统阻抗和变压器参数如图4所示,站址位于一块荒地上,围墙外面有水塘。 变电站接地网的接地电阻值应为()。
选项 A.0.15Ω; B.0.11Ω; C.0.22Ω; D.0.33Ω。
答案 B
解析 解答过程:根据《交流电气装置的接地》(DL/T621-1997)第5.1.1条规定:R≤2000/I,(I为入地电流18.2kA)即 R=2000/I=2000/18200=0.11(Ω),所以选择答案B。

猜你喜欢

发表评论
更多 网友评论0 条评论)
暂无评论

访问排行

Copyright © 2012-2014 恰考网 Inc. 保留所有权利。 Powered by tikuer.com

页面耗时0.0380秒, 内存占用1.03 MB, Cache:redis,访问数据库20次