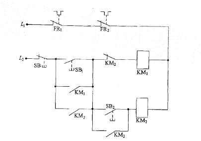
图示为两台电动机M1、M2的控制电路,两个交流接触器KM1、KM2的主常开触头分别接入M1、M2的主电路,该控制电路所起的作用是: A.必须...

作者: tihaiku 人气: - 评论: 0
问题 图示为两台电动机M1、M2的控制电路,两个交流接触器KM1、KM2的主常开触头分别接入M1、M2的主电路,该控制电路所起的作用是: A.必须M1先起动,M2才能起动,然后两机连续运转 B. M1、M2可同时起动,必须M1先停机,M2才能停机 C.必须M1先起动、M2才能起动,M2起动后,M1自动停机 D.必须M2先起动,M1才能起动,M1起动后,M2自动停机
选项
答案 C
解析

相关内容:电动机,控制,电路,两个,交流,接触器,常开,所起,作用

猜你喜欢

发表评论
更多 网友评论0 条评论)
暂无评论

Copyright © 2012-2014 恰考网 Inc. 保留所有权利。 Powered by tikuer.com

页面耗时0.0317秒, 内存占用1.04 MB, Cache:redis,访问数据库19次