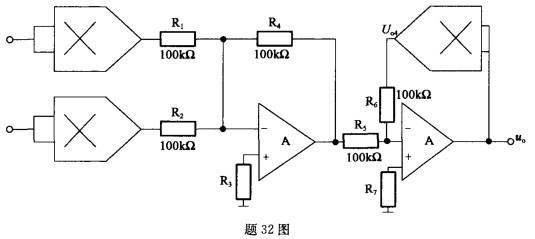
如图所示所示,集成运放和模拟乘法器均为理想元件,模拟乘法器的乘积系数K>0。 u0应为( )。

作者: tihaiku 人气: - 评论: 0
问题 如图所示所示,集成运放和模拟乘法器均为理想元件,模拟乘法器的乘积系数K>0。 u0应为( )。
选项
答案 A
解析 解如图所示。 答案:A

相关内容:如图,集成,运放,模拟,乘法器,理想,元件,乘积,系数

猜你喜欢

发表评论
更多 网友评论0 条评论)
暂无评论

访问排行

Copyright © 2012-2014 恰考网 Inc. 保留所有权利。 Powered by tikuer.com

页面耗时0.0383秒, 内存占用1.04 MB, Cache:redis,访问数据库20次